工業爐的爐底有活底和死底兩種。砌筑時先砌爐墻,然后在爐墻之間再砌爐底,這種爐底稱為活底,日常維修換磚比較方便。如果是先砌爐底,后砌爐墻,爐墻壓在爐底上,則稱為死底。
圖1 爐底的砌筑方法a)活底 b)死底
1--隔熱層;2-骨架;3-爐頂;4-爐墻;5-爐底;
砌筑爐底時,按磚的排列形式有錯縫形、席紋形和人字形,如圖2所示。其中錯縫形使用最廣,人字形砌筑最堅固,但比較費工。

圖2 爐底砌筑形式a)錯縫形b)席紋形c)人字形
在開始砌筑鋪底前,要檢查基底表面的水平。如基底水平誤差較大,可用泥漿找平,對個別特高部位可用砍削方法修平。還應根據圖樣的尺寸,算出爐底應鋪設幾層磚,如幾層平砌,幾層側砌。將爐底標高彈上線,以爐底為準逐層往下確定好尺寸,如圖3所示。

圖3 計算爐底鋪設磚層1-側砌;2-平砌
小型爐子鋪底砌磚,可從一端開始砌至另-端;而對一些大型爐子,則應在爐子中間開始,然后向兩端展開。爐底的每層砌磚都要掌握水平,并且遵守錯縫原則。
爐底砌磚,-般在爐底下面磚層采用平砌,上面磚層采用側砌,因為側砌的磚層強度尺,耐摩擦。
貫通式熱處理爐爐底的砌筑
鋪砌貫通式熱處理爐爐底時,必須實行拉線砌筑,以保證爐底的水平。隨之按圖樣要求砌筑磚柱,并注意煙道位置。砌磚時不僅要選好磚的厚度,更要嚴格掌握每層磚縫的厚度。每砌至一定高度時,應用卷尺檢查,以便做到心中有數。待全部磚柱砌完后,檢查全爐所有磚柱的水平。
在磚柱上干排導軌磚,使全部導軌磚保持一個水平,并形成一直線。如有個別低洼處,可以填放石棉板。接著在兩導軌磚之間填放大板磚。然后再在兩側的煙道上鋪砌大板磚。在鋪砌這塊大板磚前,可側放一塊擋板磚(見圖4)。平放煙道上的大板磚時要壓平、擠緊,總之,應在導軌磚的前后、左右都擠緊擠牢,不致發生移動。
圖4 貫通式熱處理爐爐底的砌筑1-煙道;2-擋板磚;3-導軌磚;4-爐墻;5-噴嘴
臺車式爐臺車的砌筑
為了控制好臺車的砌筑高度,必須在底面上干排磚層,弄清全部磚層的排列情況。砌筑臺車時,應從沒有直墻的一端開始,往有直墻的一端進行。待工作面層磚全部砌完后,再在其上部砌筑直墻。
圖5 臺車的砌筑1-硅藻土磚;2-耐火粘土磚;3-鎂磚;4-側板磚;5-三角磚
砌磚是從一端開始橫向排砌,當砌完第-排后再砌第二排。每排磚、每層磚的磚縫都應錯開,磚縫要小,泥漿飽滿。每層磚砌完后都要檢查其水平和高度,以保證砌完后的臺車工作面有一個平整的表面。
先用硅藻土磚平砌底層,接著砌耐火粘土磚。當砌到三角磚和側板磚的位置時,首先應沿臺車的四周邊緣砌筑三角磚或側板磚,并使其與臺車骨架緊靠嚴密,然后再在臺車的中間填砌直形磚,磚與磚之間必須擠緊。砌到臺車工作面的最后一層鎂磚時,則應采用側砌,以增強砌體的抗壓強度。干砌完后,用細鎂砂填滿所有磚縫。
箱式電阻爐爐底的砌磚
砌筑前,在爐底和沿爐殼四周鋪放一層石棉板。由一側開始干砌硅藻土磚,側砌成網格形,如圖6所示,當第--層硅藻土磚砌完后,在其上面倒入粒度為2〜3mm的硅藻土,將網孔和磚縫全部填滿。
圖6 用硅藻土磚鋪砌爐底1-硅藻土粉;2-側砌硅藻土磚;3-平砌硅藻土磚
第二層硅藻土磚采用平砌,要注意水平,然后再砌輕質耐火粘土磚。
開始砌筑輕質耐火粘土磚時要進行干排,其目的有:
1) 找出引出棒孔的位置,做到心中有數,不致被磚碰上。
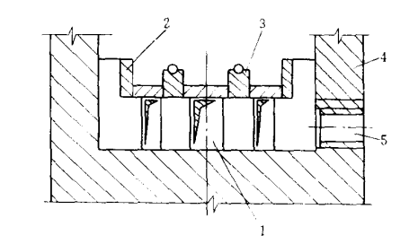
2)爐底擱磚應能自如地放入兩排托磚之間,不得過緊,以防砌磚時擺放不下(這兒所指的托磚,就是起支托耐熱鋼爐底板所用的耐火磚),如圖7所示。
圖7 爐底托磚的砌法
1-耐熱鋼爐底板;2-爐底擱磚;3-輕質耐火粘土磚;
4-托磚(耐火粘土磚);5-硅藻土磚
3)選用合適的磚來配砌,以保證托磚獲得應有的高度和合理的布置。
砌筑爐底時,必須注意下列事項:
1) 引出棒孔的位置找正后,首先從這端開始砌筑,以免孔位被磚堵上,而影響電熱元件的安放。
2) 托磚要側砌,側砌的磚支承能力大,使用壽命長。在兩排爐底擱磚之間的托磚采用縱向順砌,而爐門兩端的托磚則為橫向側砌。
3) 砌筑托磚時,--定要找好水平,應使爐底上的全部托磚處于同一水平面,這樣,爐底板安放平穩,受力均勻
4) 所有托磚在砌筑時,都要設法相互擠緊,不得松動。
5) 砌筑托磚時,不僅要注意水平度、直線度,而且要隨時掌握好托磚之間的距離。因為距離小了,爐底擱磚就放不進去,要想加工擱磚,那是相當困難的。
6) 若爐底板的底部有加強肋,要精確地算出它在托磚上的相應安放位置,然后再在托磚上細心地砍出凹槽,以便讓所有的加強肋都座落在凹槽內。
7) 如爐底板由數塊組成,則應考慮爐底板之間的接縫落在托磚上。當爐子在高溫工作時,如有氧化鐵皮從縫中掉下,也不致落到電熱元件上,以免造成短路事故。
8)將爐底板放入爐內時,應使其所有邊緣都座落在托磚上,不得有架空部位。





